東莞市香蕉视频APP污下载儀器設備有限公司主營: 冷熱衝擊91香蕉短视频、 高低溫溫衝擊大香蕉性爱网、 高低溫衝擊箱等產品!
熱門關鍵詞: 冷熱衝擊91香蕉短视频、 高低溫衝擊91香蕉短视频、 小型高低溫91香蕉短视频
鹽霧91香蕉短视频高低溫試驗設備校準方法研究
在海洋氣候環境中,鹽霧91香蕉短视频鹽霧腐蝕作用對武器裝備的失效、壽命有著重要的影響,應用在武器產品的材料或防護材料的抗腐蝕性能直接影響武器裝備質量的可靠性。在民用產品領域,如汽車零部件等,產品抗腐蝕性能直接影響到汽車的壽命、性能和安全等。因此,通過鹽霧腐蝕試驗考核產品的耐腐蝕性對於保障武器裝備、工業產品的質量有重要作用。同時,也可以通過鹽霧腐蝕試驗來篩選材料。可以說鹽霧腐蝕試驗在軍事工程、民用工程的耐、抗腐蝕性的材料研製、製造加工、篩選等方麵有著不可替代的作用。
在環境試驗中,環境試驗設備廣泛用於產品的研製、存儲、運輸、使用等各個環節的可靠性試驗。由於技術的進步,近幾年試驗設備得到了較大的發展,不斷湧現出許多新型試驗設備,由從前的單一功能參數向綜合多參數、多功能方向發展,鹽霧腐蝕試驗設備中出現了鹽霧、交變試驗設備或鹽霧、交變、高低溫試驗設備(以下統稱為鹽霧高低溫試驗設備)。此類新型環境試驗設備在各軍工科研機構配備有相應的試驗設備。
由於環境試驗的目的就是要在特定的環境參數條件下考核材料、產品的性能,特定環境條件下環境參數測量的準確與否,直接影響到試驗結果。因此,環境參數的測量技術與環境試驗設備的校準技術水平直接影響到環境試驗技術的水平。然而,對鹽霧高低溫試驗設備的檢驗、檢測、校準卻遇到了新的問題,主要是在鹽霧腐蝕氣氛下的濕度測量存在較大的測量誤差。由於此問題一直沒有得到解決,以至於在國標 GB10586~10592、GB11158~11159 91香蕉短视频技術條件係列標準中沒有此類設備的91香蕉短视频技術條件標準,在國標 GB/T 5170 電工電子產品環境試驗設備基本參數檢定方法係列標準中也沒有此類試驗設備的檢定方法。目前,能生產此類試驗設備的廠家(如國內有無錫市錦華試驗設備有限公司,迪安環境試驗設備有限公司等;國外有美國 Q-Panel LAB 公司等)也沒有解決此類問題。
因此,研究、解決在霧腐蝕氣氛中的濕度測量方法,以及鹽霧高低溫試驗設備的校準方法可以為鹽霧交變試驗方法和鹽霧交變試驗設備提供了技術保證,為日後製定此類91香蕉短视频的技術條件標準和檢定方法標準提供了技術基礎和方法保證,為該類試驗設備的設計、研製、生產提供技術支持,對促進我國標準技術的發展和試驗設備技術的發展作用重大。
研究內容
目前的試驗方法標準中,鹽霧試驗的溫度為 35℃±2℃,鹽霧沉降率為(1.5±0.5)ml/h,濕熱貯存試驗的溫度為 40℃±2℃,相對濕度 92.5%RH±2.5%RH。那麽為鹽霧交變試驗方法設計生產的鹽霧交變試驗設備,需要校準的項目為:鹽霧試驗時的溫度 35℃±2℃和在此溫度下的鹽霧沉降率(1.5±0.5)ml/h;濕熱貯存試驗時的溫度 40℃±2℃和此溫度下的相對濕度 92.5%RH±2.5%RH。
因此,本論文重點解決在鹽霧腐蝕氣氛中的濕度測量方法,以及鹽霧高低溫交變試驗設備的校準方法。本論文以該鹽霧試驗和該濕熱試驗為基礎,定量分析研究在溫度 35℃、鹽霧沉降率 1.5ml/h 之後,在溫度 40℃下的相對濕度 92.5%RH的測量方法、技術等相關研究,以滿足目前鹽霧高低溫交變試驗設備校準和鹽霧交變試驗的需要。
國內外技術現狀
鹽霧試驗技術的發展
鹽霧腐蝕試驗是環境試驗體係的重要組成部分,對於在海洋氣候環境條件下使用的軍事武器產品,更是不可或缺的可靠性試驗。在現有的環境試驗方法標準體係中主要有:單一的鹽霧試驗,鹽霧、交變試驗。部分試驗方法標準中還有鹽霧、交變、高低溫試驗。雖然一種試驗可以用改變試驗周期來模擬實際使用情況下的不同腐蝕程度,如海洋大氣條件下試驗四個周期,一般氣候大氣條件下試驗一個周期等。但這些氣候的腐蝕因素是不同的,所以還是不能預測試驗樣品在不同的氣候條件中性能的真實情況。
為了在短時間內得出材料、元件、設備相當於在使用條件下運行若幹年後的性能,對不同的氣候條件采用不同的加速試驗方法。常用的加速試驗方法有:a. 增加溫度。
b. 增加相對濕度。c. 增加凝露程度。d. 增加腐蝕介質濃度。e. 增加試驗循環中有腐蝕介質與沒有腐蝕介質的時間比,或增加試驗時間。f. 加電壓或電流。g. 加機械振動。h. 使溫度有周期性變化。
一般來說,在增加溫度不會引起或加速其它反應時溫度升高 10℃,化學反應會增加 2~3 倍。當相對濕度增大,也會促進腐蝕速度加快。自然條件下,許多腐蝕機理跟腐蝕條件有關,如在鹽霧腐蝕試驗中,連續噴霧和鹽霧與潮濕交替試驗所得的結果大不相同,後者與自然暴露結果比較相似。
因此,鹽霧、交變試驗或鹽霧、交變、高低溫試驗比單一的鹽霧試驗更近似自然條件下的腐蝕結果,前者多參數綜合作用的試驗結果對考核材料、產品的抗腐蝕性更有優勢,它的應用越來越廣泛。可以說,鹽霧、交變試驗或鹽霧、交變、高低溫試驗是鹽霧試驗標準技術發展的趨勢和方向。
試驗設備技術的發展
由於技術的進步,與環境試驗相關的環境試驗設備近幾年得到了較大的發展,由從前的單一功能參數向綜合多參數、多功能方向發展,不斷湧現出許多新型試驗設備,鹽霧高低溫試驗設備就是其中一種。從前,由於環境試驗設備製造技術的限製,實現鹽霧、交變試驗或鹽霧、交變、高低溫試驗需二種或三種試驗設備來完成,即分別由鹽霧91香蕉短视频、濕熱91香蕉短视频、高低溫91香蕉短视频(或高低溫濕熱91香蕉短视频)各自獨立完成鹽霧、交變、高低溫試驗。試驗過程中,受試驗樣品要在二種、三種試驗設備之間不斷轉移,其結果是:在轉移過程中,附著在試驗樣品上的鹽溶液會有不同程度的損失。濕熱試驗設備(或高低溫試驗設備),由於該類試驗設備采用強製循環的熱交換方式來實現溫濕度平衡,試驗樣品表麵上的鹽溶液受強製循環風的作用而易於損失,同時,樣品上損失的鹽溶液會對該類試驗設備起腐蝕作用,影響設備壽命。不可忽視的是在試驗過程中樣品上鹽溶液的損失改變了腐蝕條件,不能滿足和符合試驗標準的要求,達不到腐蝕試驗的效果和目的。這是該類試驗以前的現實情況。
鹽霧高低溫試驗設備的出現,使上述情況得到了根本的改變。由於鹽霧、交變、高低溫三種參數集合在一台試驗設備上,受試驗樣品不再需要移動,樣品上的鹽溶液損失的問題就不會存在。鹽霧高低溫交變試驗設備,其鹽霧、高低溫、濕度各自功能的實現與傳統的鹽霧箱、高低溫箱、濕熱箱沒有太大的區別,噴霧、加熱、冷卻、加濕等方式與傳統方法相同。的區別是:設備的恒溫恒濕方式采用自然空氣對流,而傳統的溫度箱、濕熱箱的恒溫恒濕方式則采用強製空氣循環。
因此,鹽霧高低溫試驗設備的出現,使鹽霧試驗遇到的設備問題得到了有效的解決,有利於人們更有效地獲取材料、產品的真實試驗數據。可以說,該類試驗設備代表著試驗設備技術發展的趨勢和方向。
濕度測量技術
在目前已有的方法和手段中,濕度測量主要有幹濕法、露點法、電濕度測量法(電阻法、電容法)等,這些方法都是在標準條件下或自然大氣條件下不帶腐蝕氣體的空氣濕度為測量對象。在濕度測量領域中,對於低濕和高濕及其在低溫和高溫條件下的測量,到目前為此仍然是一個薄弱環節,而其中又以高溫條件下的濕度測量技術最為落後。通風幹濕球濕度計幾乎是在這個溫度條件下可能使用的惟一方法。
目前存在的技術問題
鹽霧交變試驗方法規定,鹽霧和濕熱試驗分為若幹個循環和周期,每個噴霧周期之後都緊跟著一個濕熱貯存周期,部分試驗方法中還有一個高低溫試驗周期。試驗設備的控製器已把試驗循環和周期編程自動運行,對采用幹濕球法測量和控製濕度的設備而言,濕球紗布已經受到前一個噴霧周期的鹽霧汙染,故緊跟著的濕熱試驗中,設備測得的濕度因鹽霧的汙染而產生了較大的誤差。對校準測量工作來說,測量狀態必須與設備實際的工作狀態相一致,否則校準的結果是沒有意義的。
鹽霧高低溫交變試驗設備需要校準的參數為鹽霧沉降率、溫度、濕度三種參數,其中溫度的測量是在鹽霧試驗噴霧的狀態下進行,濕度測量是在鹽霧周期之後的濕熱試驗周期進行的。由於試驗設備的工作空間是密閉的,鹽霧周期之後工作空間內充滿鹽溶液和鹽霧,此時的空氣中依然存在大量的鹽汙染,濕度測量事實上也是在腐蝕氣氛下進行的。所以,鹽霧高低溫交變試驗設備的校準與一般的溫度、濕度試驗設備的校準是不同的,溫度、濕度參數的測量需在鹽腐蝕氣氛下進行,這給校準帶來很大的難題。
三種參數共存時,測量中首先要遇到的問題是,鹽霧氣氛下帶有腐蝕性。鹽霧量可以使用抗腐蝕的玻璃量器來測量,溫度可以使用抗腐蝕的玻璃(或陶瓷)保護套的鉑電阻溫度計來測量。而濕度測量,在目前已有的方法和手段中,主要有重量法、露點法、濕敏元件法、幹濕法等,這些方法都是在標準條件下或自然大氣條件下不帶腐蝕氣體的空氣濕度為測量對象。在鹽霧氣氛下,重量法測量必然會因為吸入鹽分而帶來較大的測量誤差,同時,重量法測量操作複雜,一般隻用於標準的量值傳遞的測量,不適宜用於日常的濕度測量;露點法測量因鹽分會對冷凝鏡麵造成汙染和腐蝕作用而不能使用;濕敏元件法同樣因濕敏元件的材料不能抗腐蝕而不適合腐蝕氣氛下的濕度測量;幹濕法因鹽霧會在濕球紗布上積聚鹽分而影響紗布的吸濕性和揮發性,同樣會帶來較大的測量誤差。所以,濕度參數在量值傳遞中的測量和在環境試驗參數中的測量是有區別的,它們的測量條件完全不一樣。
溫度校準方法
目前,溫度測量的技術已能滿足環境試驗設備溫度參數的校準需要。Pt100 鉑電阻測溫元件重新分度後,準確度可達 0.1℃以上,其中使用玻璃或陶瓷封裝的Pt100 鉑電阻測溫元件,具有很好的耐腐蝕性。經香蕉视频APP污下载多年使用證明,德國 ABB 公司生產的玻璃封裝的 Pt100 鉑電阻測溫元件具有良好的穩定性,準確度可滿足要求。故選用該測溫元件作設備溫度測量元件。
環境試驗設備的校準涉及工作空間的溫濕度場的溫濕度分布,需要對工作空間多個位置進行同時測量。鹽霧試驗設備、溫度試驗設備、濕熱試驗設備等各類環境試驗設備的國家檢定方法標準中均明確了溫度、濕度的測量點和數量,故測量儀器需要選擇多通道的自動測量儀。美國安捷倫公司生產的 34970A 數據采集開關單元適用於各種數據記錄和監視應用,無論是獨立使用,或是和計算機一起使用。它靈活的模塊化設計能選擇20 至 120 個通道,從而為簡單控製增加執行器、數字 I/O 和模擬輸出通道。它體積小,結構堅固,最適合便攜式應用。34970A 的軟件驅動程序支持 Agilent VEE 和NI LabView,能容易地集成為測試係統,而且提供的標準 RS-232 和 GPIB 接口及SCPI 程序語言使集成更為容易。
由於 34970A 數據采集開關單元具有多達 30 通道的四線電阻溫度測量功能,可聯機自動巡檢測量。經香蕉视频APP污下载近十年的使用證明具有長期的穩定性,校準後短期(90 天)的準確度可達 0.02℃,長期(一年)準確度達 0.06℃,故選作測溫元件的測量儀器。配 3 塊 34901A 模塊的 34970A 數據采集/開關單元的功能參數如下:通道:30 通道,四線製鉑電阻輸入;分辨率:0.01℃;溫度準確度:<0.02℃(校準後);溫度穩定性:<0.01℃。
校準裝置的組成
鹽霧91香蕉短视频耐腐蝕通風幹濕計研究解決後,整套校準裝置組成如下:a. Pt100 鉑電阻溫度計
b. 耐腐蝕通風幹濕計 c. 34970A 數據采集/開關單元 d. 手提電腦 e. 漏鬥
f.精密量筒
校準裝置組成圖如圖 3-1。

校準裝置的溯源
a. 鹽霧沉降率測量使用的精密量筒,可通過標準玻璃量器標準裝置溯源到國家基準。
b. 溫度測量可通過一等鉑電阻溫度計標準裝置溯源到國家基準。
c. 濕度測量可通過濕度標準裝置溯源到國家基準。
耐腐蝕通風幹濕計設計
鹽霧高低溫交變試驗設備的恒溫恒濕采用自然對流方式,空氣流動的速度非常緩慢,如采用沒有固定風速的幹濕計,則測量準確度大大降低而不能滿足校準設備的技術指標要求因此,隻能采用強製通風的通風幹濕計才能滿足要求。
現有的通風幹濕計並沒有考慮耐腐蝕問題,加上體積較大和采用液體玻璃溫度計測溫,當放置在設備內測量時不能讀取溫度計的數值,所以目前現有的通風幹濕計並不適用於鹽霧高低溫交變試驗設備的濕度測量。鹽霧高低溫交變試驗設備的試驗空間不大,通常隻有 1m3左右,故測量通風幹濕計的體積應盡量小,測溫係統需獨立於幹濕計。因此,要解決鹽霧高低溫交變試驗設備的校準方法問題。需要重新設計適合設備特點的小型耐腐蝕通風幹濕計。
通風幹濕計的結構設計
氣象用通風幹濕計是成熟的濕度測量裝置,其結構模式理論和實驗證明了是合理的,故耐腐蝕通風幹濕計(以下簡稱幹濕計)的結構模式主要參考氣象用通風幹濕計。參照氣象用電動通風幹濕計的結構原理,把幹濕球溫度計封裝在盒中,頂部安裝電機風扇,以電機中間為軸心,用隔板隔開,使盒分作兩部分,同時可使電機的鼓風分作兩股,盒底部兩側分別開通風孔;盒中隔板的一邊安裝幹球溫度計,另一邊安裝濕球溫度計,底部安裝儲水杯。所有材料均使用耐腐蝕的塑料,結構示意圖如下圖 4-1。

測溫元件的選擇
考慮到環境試驗設備的特殊性,測溫元件的基本要求為:耐腐蝕鹽霧腐蝕;合適的尺寸,便於濕球紗布的安裝操作;線性好,便於修正;準確度高,穩定性好。香蕉视频APP污下载使用德國 ABB 公司的玻璃鉑電阻元件,經檢測表明該元件的線性、穩定性、準確度、尺寸選擇等均符合要求。選擇的測溫元件基本參數如下:尺寸:長度(30±3)mm,直徑(3±0.2)mm;標稱阻值:100Ω;準確度:A 級;
通風係統設計
依據小型化設計要求,所選擇的電機需合適的尺寸,同時需耐腐蝕。根據香蕉视频APP污下载對市場調查的結果,選定的電機(已包含風葉)參數如下:尺寸:長 40mm,寬 40mm,高 20mm;
電壓:0~12V 可調;風速:>2.5m/s
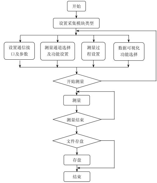
測量軟件
根據 34970A 的功能以及校準的要求,測量軟件所需要的功能如下:
1)34970A 與計算機通信的設置功能。34970A 數據采集/開關單元具有 RS232串口等通信接口,測量軟件要根據 34970A 的通信接口設置,選擇相應的通信接口。對串口,還要設置相應的串口通信參數設置。
2)通道選擇及測量功能設置。由於要對試驗設備工作空間 15 個位置同時測量濕度或溫度,需要選擇相應的測量通道以及設置每個通道的測量功能、測量參數。
3)測量過程設置。可以根據校準的需要,靈活設置測量的起始時間、終止時間、測量的間隔時間、測量觸發事件等。
4)測量數據可視化處理。將測量數據以表格、圖形等方式顯示出來,方便校準過程中對數據的觀察。
5)數據文件的存儲等功能。
軟件主要流程圖

編程工具
校準軟件選用 Win9X/Me/ NT/Win2000/XP 作為操作係統,采用當前比較流行
的編程語言 Delphi5 和 LabVIEW6.1 編寫而成。前台采用 Delphi5 語言設計,界麵
比較友好,易用,人性化。後台采用當前最流行虛擬儀器編程語言 LabVIEW6.1
設計及編寫。
係統在設計過程中,采用了模塊化設計,這樣可以使得每個項目能夠獨立工作,同時係統設計中,為了使用的方便,係統能夠在中途暫停保存,重啟後可以繼續進行,從而提高了軟件的靈活性。
係統在設計過程中,采用 LabVIEW6.1 編寫測量子程序,編譯成動態連接庫文件(.dll);采用 Delphi5 編寫校準軟件前台控製,調用動態連接庫文件(.dll)。
軟件主要界麵





本文重點研究了鹽霧腐蝕氣氛下的濕度測量問題和鹽霧高低溫交變試驗設備的校準方法,取得以下成果:
1)研製了通風幹濕計,建立了鹽霧高低溫交變試驗設備的校準裝置;
2)開展了目前試驗條件規定的鹽霧濃度氣氛下濕度的測量方法的研究,提出了在經不同間鹽霧汙染後濕度測量修正值的測量方法,並通過實驗求得汙染前後濕度測量的變化量,使用修正值的方法解決了鹽霧汙染下幹濕球法測量濕度的問題鹽霧91香蕉短视频
http://www.sxjnkj.com
電話
15899697899
微信
加微信好友
郵箱
zhenghang@vip.126.com